| Since its establishment, GATERON has been deeply engaged in the key switch industry. Its magnetic switch technology system has ushered in a new era of peripheral interaction, endowing products with e-sports attributes. The non-contact triggering method has enabled the consumer market to upgrade from mechanical switches to magnetic switches, achieving a significant performance leap. This technology has revolutionized the keyboard market at its core and promoted the positive development of the industry. |
||||
![]() |
SteelSeries Apex Pro (The first true magnetic keyboard)
GATERON Magnetic switch inside
|
|||
The GATERON Magnetic Switch was developed in 2014, achieved successful mass production in 2018. In 2019, it helped SteelSeries launch the world's first magnetic switch keyboard - Apex Pro. Subsequently, in 2020, GATERON collaborated with WOOTING to release the first full-key magnetic switch keyboard supporting hot-swappable - Wooting Two. Meanwhile, it has won the recognition and support of CORSAIR and has been applied in their subsequent products. Up to now, it has gone through years of development and testing. ![]() |
||||
|
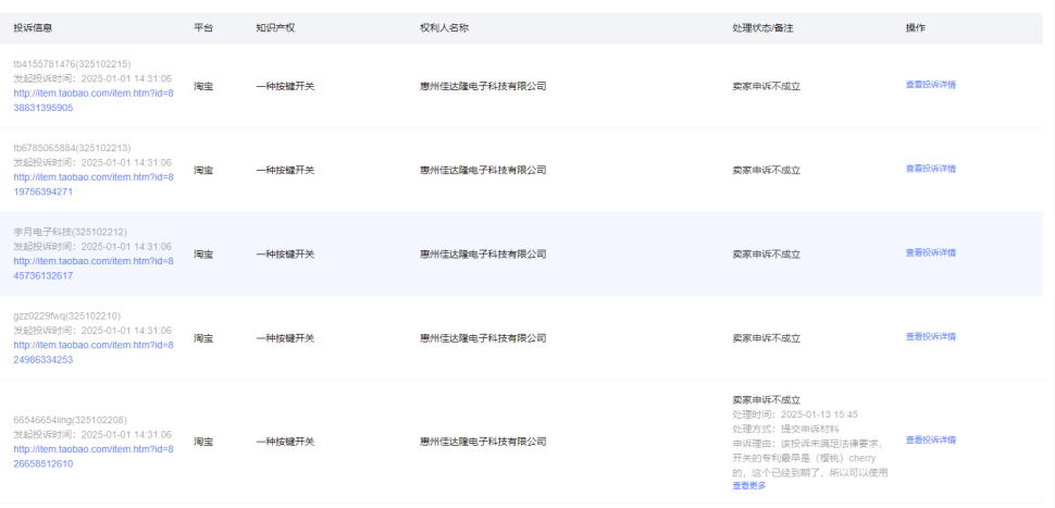
Currently, all similar magnetic switches with bottom-covered structures on the market are suspected of patent infringement. Upon its release in 2023, the GATERON Magnetic Jade Switch quickly gained market recognition and secured relevant patents. However, the surging market has attracted numerous profit-driven entities that disregard intellectual property rights, boldly engaging in "infringement" and "plagiarism." Some have even gone so far as to leverage leading industry media to spread misleading information, deliberately discrediting GATERON's original products, supporting copycats, and distorting market values. This undermines the quality and assurance that consumers are entitled to, compromising their rightful interests. |
||||
|
||||
![]() |
![]() |
|||
|
With a commitment to fostering positive market development, GATERON has repeatedly issued advice and kind notification to those infringing brand. Despite successfully removing some infringing products from e-commerce platforms through report, certain manufacturers continue to maliciously sell their products by submitting deposits or other means. Such short-sighted actions, akin to "quenching thirst with poison," not only harm the rights of innovators but also risk plunging the entire peripheral industry into a quagmire of homogenization. |
||||
![]() |
![]() |
|||
![]() |
![]() |
|||
|
Products of related parties suspected of infringement. They have also intentionally set the location of GATERON as unavailable for purchase.
Only by respecting technology and valuing originality can a strong foundation for the long-term development of the industry be built. In this regard, GATERON will continue to take strong actions against infringement.
We sincerely hope that industries across the board will focus on independent research and development, foster innovation, and truly consider the interests of consumers, bringing more creative and practical diversified products. This will help avoid a homogeneous market environment, enrich product offerings, and provide players with more choices and playability. |
||||












